Ein COM-Anschluss ist eine Schnittstelle, die die Daten bitweise überträgt. Für den PC gibt es als serielle Schnittstelle den RS-232-Standard.
Die seriellen Anschlüsse eines Computers werden auch als "COM-Ports", als Kommunikations- Anschlüsse, bezeichnet. An diesen Anschlüsse werden in der Regel die Maus, ein Nullmodem-Kabel, und / oder das Modem angeschlossen. Speziell beim Anschluß eines Modems, sollte ein COM-Port mit einem besonderen Baustein verwendet werden: UART mit FIFO. Damit sind höhere Übertragungsraten möglich als mit Standard-Schnittstellen
Übertragungsweise

Die Datenbits sind auf dem Datenbus parallel vorhanden. Die Serielle Schnittstelle überträgt die Datenbits aber nacheinander. Deshalb ist eine Parallel-Seriell-Wandlung notwendig.
Das Datenwort wird aus dem Speicher in den Schnittstellenspeicher geschrieben. Dann wird das Datenwort aufgeteilt und die Datenbits einzeln übertragen. Ist das ganze Datenwort übertragen worden, wird ein weiteres Datenwort aus dem Speicher geholt.
Beim Empfangen der Daten wird das Datenwort wieder zusammengesetzt und in den Speicher geschrieben. Damit der Empfänger die Daten wieder richtig zusammensetzt müssen Sender und Empfänger zeitgleich Senden bzw. Empfangen. Um das zu gewährleisten, werden zwei Verfahren (synchron und asynchron) zur Aufrechterhaltung der Synchronisation angewendet.
Die parallele Schnittstelle (LPT) wurde zunächst hauptsächlich zum Anschluß von Druckern verwendet, wobei lange Zeit die sogenannte Centronics-Schnittstelle des gleichnamigen Druckerherstellers ohne Normierung einen Quasi-Standard darstellte. Die ersten parallelen Schnittstellen ermöglichten nur die Übertragung von Daten vom Rechner an die angeschlossene Peripherie. Um jedoch auch Geräte wie z.B. Scanner anschließen zu können, setzten sich nach und nach bidirektionale Schnittstellen durch.
Über parallele PC-Schnittstellen werden gleichzeitig 8 Bit über 8 Leitungen übertragen, wobei eine Reihe von Steuerleitungen den Austausch der Daten zwischen Rechner und Peripherie kontrolliert (Handshaking).
Anschlussarten

IEEE 1284-A
In den heute üblichen PCs wird als Anschluß ein 25-poliger Sub-D-Stecker benutzt. Dieser besitzt aufgrund der geringen Polzahl nicht für jede Daten- und Signalleitung eine Masseleitung zur Abschirmung, was eine geringere Störfestigkeit ergibt. Für die meisten Anwendungen reicht dies jedoch vollkommen aus.
IEEE 1284-B
Ursprünglich wurden 36-polige Stecker verwendet, wie sie von der Firma Centronics eingeführt wurden. Beim hierbei verwendeten Flachband-Anschlußkabel wurde zwischen jede Daten- und Signalleitung eine Masseleitung gelegt, was das Übersprechen der Signale sowie äußere Einflüsse erheblich reduziert.
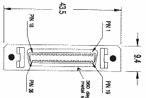
IEEE 1284-C
Die modernste Form des Anschlusses verwendet wieder einen 36-poligen Stecker, der aufgrund einer extrem kleinen Bauform trotz der hohen Zahl der Anschlüsse kleiner als der herkömmliche Sub-D-Stecker ist. Wie beim IEEE 1284-B Stecker besitzt jede Daten- und Steuerleitung eine eigene Masseleitung zur Abschrirmung.
Links

---